优越会717线路检测
首页
学院概况
学院简介
现任领导
岗位职责
规章制度
办事流程
下载中心
联系我们
党建工作
学院动态
理论学习
专题学习
工会工作
成人教育
通知公告
招生工作
学籍工作
教学工作
自学考试
通知公告
专业介绍
自考招生
网络助学综合评价
实践环节
培训认定
通知公告
项目介绍
学生工作
学工动态
学员素质发展中心
学位工作
通知公告
资料下载
考试工作
考试通知
办事流程
您所在位置:
首页
|
学院概况
|
办事流程
|
正文
学院简介
现任领导
岗位职责
规章制度
办事流程
下载中心
联系我们
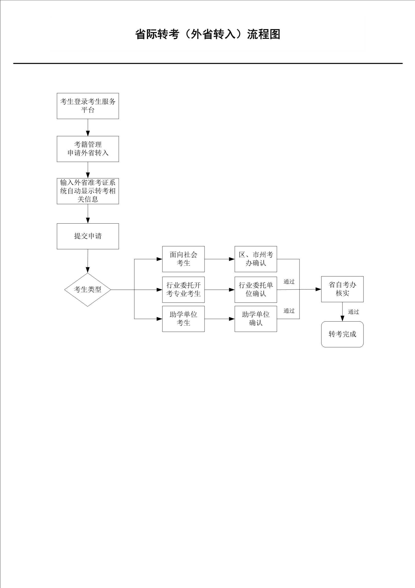
高等教育自学考试省际转考(外省转入)流程图
发布时间:2024-11-14